服務熱線:15195518515在線客服:1464856260
傳真號碼:0517-86801009
郵箱號碼:1464856260@qq.com
網 址:http://m.bxsmf.com
地 址:江蘇省金湖縣理士大道61號
丙烷液位計浮球不動
發布時間:2021-07-20 01:09:45??點擊次數:2048次
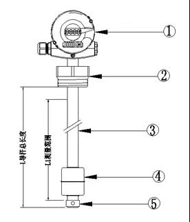
丙烷液位計主要由表頭、過程連接、導桿、浮球和鎖緊環(如下圖)五部分組成。其通過連接法蘭安裝于容器頂上。

計為Float-11丙烷液位計整體結構圖①表頭 ②過程連接 ③導桿 ④浮球 ⑤鎖緊環
根據阿基米德原理,當容器的液位變化時,浮球也隨之上下浮動,又由于浮球具有磁性,丙烷液位計的干簧管受磁性吸合,從而把對應的液位轉換為電信號,再通過表頭顯示出液位的實際高低。
由于丙烷液位計具有結構簡單、長度能夠根據工況要求按需定制,頗受用戶歡迎,在食品加工、廢水處理以及石油化工等行業的液位測量方面有著廣泛應用。
盡管如此,實際應用中如果操作使用不當,丙烷液位計也會出現一些故障。為幫助大家更好地使用丙烷液位計,本文擬就丙烷液位計的故障及處理介紹如下。
一般來講,丙烷液位計的故障比較常見的有指示異常、浮球被卡和受磁場干擾導致儀表出現誤動作三種。
故障:浮球被卡住不動
浮球被卡住,通常是因為被測液體中含有雜質和污垢,時間一長,導桿便會漸漸結垢。若浮球被卡主不動,則會導致儀表無信號輸出。
故障處理:如果出現浮球被卡住的故障,儀表人員應及時查看浮球的狀態,檢查導桿表面是否有水垢凝結,并盡快清理干凈。尤其對于含有雜質的被測液體,儀表人員應對儀表導桿進行定期清理。
實踐中,由于現場工況復雜、操作不當等原因,都可能導致浮球液位計出現一些其他故障,進而影響生產的正常進行。這時請及時檢查電壓、電流、負載是否異常,并認真閱讀產品使用說明書,按照上面的要求進行規范操作。如故障仍不能排除,可向廠家技術人員咨詢,如仍不能解決,應及時發回廠家進行維修處理。



|